2.ケースで考える中小企業実態基本調査の活用(その3) ~P/Lに関わるデータを活用する
まずは、ある経理部での様子を描いた【ケース2】をご覧ください。【ケース2】
社長:「他の中小企業の水準も知りたいところだが、うちには他の中小企業の決算書なんてないからな。何か他の中小企業と比較する方法はないものだろうか…」
3.中小企業の業種別の利益率を調べてみよう
(1) 中小企業実態基本調査結果の概況資料を活用する中小企業実態基本調査での調査・分析対象項目になっている指標は、概況資料をそのまま活用することができます。利益率のうち「売上高経常利益率」については調査・分析対象項目になっており、【図表1】のように、調査結果の概況資料にも掲載されています(なお、マイナス値の場合は「-」表示されている)。
第10-2図 売上高経常利益率(産業大分類別)

(出所)中小企業実態基本調査「令和4年調査の概況(令和3年度決算実績)」
(中小企業庁)P21
(2) Excelで掲載されている統計表を活用する
【ケース2】のK社の社長は、売上総利益率や売上高営業利益率などの業種平均の水準も気になりました。しかし、業種別の売上総利益率や売上高営業利益率などについては調査・分析対象項目になっておらず、調査結果の概況資料にも掲載されていませんでした。
こんなとき、自分が知りたい経営指標の実績値をもっと柔軟に知ることができたら便利なはずです。そのための方法が、Excelで掲載されている統計表を活用する方法になります。
以下では、P/Lに関わる統計表を見ていこうと思います。
①Excelで掲載されている統計表を入手する
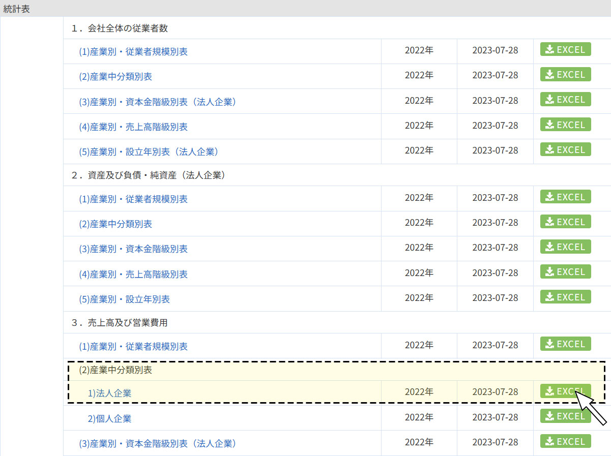
P/Lに関わる統計表を見たい場合は、【図表2】の「3.売上高及び営業費用」のところにいくつかの切り口でのP/Lデータが掲載されています。前回取り上げたB/Sについては法人企業だけなのに対して、「売上高及び営業費用」(P/L)については、「法人企業」のデータと「個人企業」のデータの両方があることがお分かり頂けると思います。

(出所)e-Statの中小企業実態基本調査「令和4年確報(令和3年度決算実績)」画面の一部を抜粋
(点線枠は筆者が追加)
②入手できるP/LのExcelデータの形
入手できるP/LのExcelデータの形は【図表3】のとおりです。

(注)実際には上表の1行目の項目が「建設業」や「製造業」などの大分類での業種(11業種)と、さらに中分類での業種(67業種)まで細分されている。個人企業についての統計表では、「※」欄に※印を付けた科目等についてのみデータが集計されている
(なお、「※」欄は筆者が追加したものである)。
P/Lの勘定科目については、一般的に重要性の高い勘定科目(例えば、「労務費」「人件費」「減価償却費」「支払利息・割引料」など)も区分して金額が集計されています。その結果、これらの勘定科目に関わる経営指標を自分で算出することもできるので有用です。
③実際に自分で経営指標を算出してみる
【図表3】のようなP/Lがあれば、業種別に、知りたい経営指標(ここでは各種の利益率)を自分で算出することができます。
【ケース2】にある飲食店K社が、自社の属する業種の「売上総利益率」・「売上高営業利益率」・「売上高経常利益率」・「売上高当期純利益率」がそれぞれどの位の水準になっているのかを知りたいときには、中小企業実態基本調査のP/LのExcel統計表を使って、自分で算出することができます。
【図表4】自社の属する業種の各種利益率(2020年度及び2021年度)を自分で計算
| 全業種 | 宿泊業、飲食サービス業 | 飲食店 | ||||
| 2020 | 2021 | 2020 | 2021 | 2020 | 2021 | |
| 売上総利益率 | 25.6 | 26.0 | 61.2 | 65.3 | 61.2 | 63.5 |
| 売上高営業利益率 | 2.1 | 2.9 | △9.6 | △10.9 | △8.8 | △11.7 |
| 売上高経常利益率 | 3.3 | 4.3 | △4.2 | 1.8 | △3.1 | 3.5 |
| 売上高当期純利益率 | 1.7 | 1.9 | △4.8 | 0.7 | △4.0 | 1.7 |
なお、【図表4】の「宿泊業、飲食サービス業」や「飲食店」を見ると、売上高営業利益率より売上高経常利益率の方が大きく上回っていますが、これは、営業外収益としてコロナの助成金等が計上されているのではないかと推測されます。
【図表4】では、直近の2年度分のみを比較してみましたが、中小企業実態基本調査結果として掲載されているP/LやB/S等のExcel統計表は、2003年度実績以降のものですので、もっと長い期間の決算数値を比較することも可能です。
4.おわりに
本連載では現在、自社の決算数値を自社以外と比較したい場合に活用できる「中小企業実態基本調査」(中小企業庁)を取り上げています。今回は、P/Lに関わるデータを活用するという観点から、P/Lに関わるデータの入手方法、入手できるP/LのExcelデータの形などについて説明しました。特に、Excelで掲載されているP/Lの統計表を活用することで、業種別にいろいろな利益率を自分で算出することができることがお分かり頂けたと思います。Excelファイルで公表されていることで、中小企業実態基本調査の調査結果の活用の幅が格段に広がるものと思っています。
次回以降も引き続き、「中小企業実態基本調査」(中小企業庁)の活用法を考えていきたいと思いますので、そちらも併せてお読み頂き、実務上の参考にして頂ければ幸いです。
その後、新しい年度のデータも公表されていますが、本稿では個別の数値水準そのものではなく、データをどのように読み取り、比較分析に活用するかという視点や流れをお伝えすることを意図しています。その点をご理解いただければ幸いです。























