第75回 比較分析のいろいろ(15) ~中小企業実態基本調査の活用(その4)

前回に続き、中小企業庁が毎年実施している「中小企業実態基本調査」についてお送りいたします。全10回に分けてお送りする調査の活用方法のご紹介、今回は第4回目となります。
1.はじめに
中小企業の場合、自社以外の決算数値はなかなか手に入らないといった問題もありますが、「中小企業実態基本調査」(中小企業庁)を活用することで、自社以外の数値と比較することも可能になります。
そこで、本稿では中小企業実態基本調査の概要を説明すると共に、活用法を考えてみようと思います。 今回は、業種別P/Lからさらに従業者規模別にブレイクダウンする方法について説明します。
2.ケースで考える中小企業実態基本調査の活用(その4)~従業者規模でのブレイクダウン
【ケース2】(前回と同じ)
飲食店を営むK社では、年度決算が終わり、取引銀行に決算書を見せた際、収益性を見る指標の一つである「売上高経常利益率」の水準が低いことを指摘されました。
それまでK社では中小企業の平均的な売上高経常利益率を意識することはありませんでしたが、どの位の水準なのかが気になり始めました。
社長:「他の中小企業の水準も知りたいところだが、うちには他の中小企業の決算書なんてないからな。何か他の中小企業と比較する方法はないものだろうか…」
前回は中小企業実態基本調査を活用して、利益率を大分類の業種別、さらには中分類の業種別までブレイクダウンして調べる方法を説明しました。【ケース2】のK社は飲食店ですから、大分類の業種は「宿泊業、飲食サービス業」で、中分類の業種は「飲食店」となります。
ただし、中小企業と一口に言ってもその規模はさまざまです。あまり自社とかけ離れた規模の企業の水準と比較してもと思われることもあるでしょう。では、そんなときはどうしたら良いのでしょうか。
3.中小企業の業種別の利益率をさらにブレイクダウンして調べてみよう
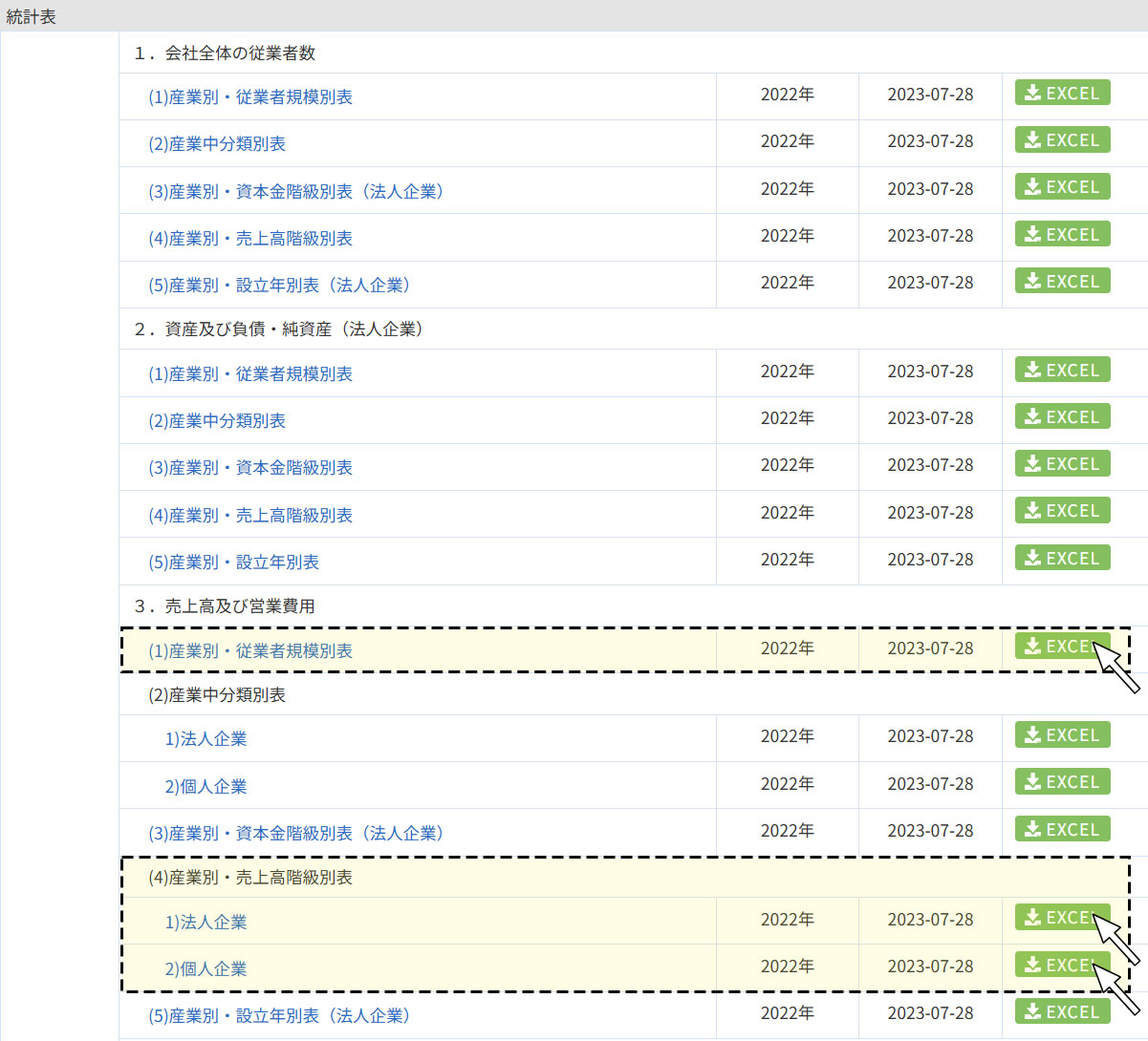
まず、Excelで掲載されている統計表を入手する必要がありますが、「従業者規模別」のP/Lを活用したいのであれば、【図表1】の「3.売上高及び営業費用」の「(1)産業別・従業者規模別表」(上の方の点線枠部分)からExcelデータ(法人企業・個人企業合わせて1ファイル)をダウンロードできます。また、「売上高階級別」のP/Lを活用したいのであれば、【図表1】の「3.売上高及び営業費用」の「(4)産業別・売上高階級別表」(下の方の点線枠部分)からExcelデータ(法人企業と個人企業とで2ファイル)をダウンロードできます。

(1)「従業者規模別」にブレイクダウンする
| 法人・個人 合計 |
法人企業 | 個人企業 | ||||
| 法人計 | 5人以下 | 6~20人 | 21~50人 | 51人以上 | ||
1.個人企業と法人企業の比較
具体的には、個人企業の場合、売上から経費を差し引いて事業主の所得を計算しますが、事業主の収入が役員報酬や給与手当などの経費に計上されるわけではありません。一方、法人企業の場合は役員報酬など経営者自身に支払った給与も経費として計上ができます。このため、法人企業の方が経費計上できるものが増え、利益率は低くなっているものと想定されます。
このことから、個人企業が比較対象として活用するのであれば「個人企業」のところを参照し、法人企業が比較対象として活用するのであれば「法人計」のところを参照することが考えられます。
2.従業者規模による比較
このことから、従業者規模によりブレイクダウンして、よりピンポイントで、自社との比較をしたいということが出てくるかもしれません。その場合には、例えば次のような方法が考えられます。
- Ⅰ.法人企業が自社の従業者数が該当する階層のところを比較対象として活用する
- Ⅱ.自社の従業者規模と大きく乖離する階層だけ除外したデータを活用する
(Ⅰ)の例としては、従業者10人の企業が「6~20人」の階層のP/Lを活用するといったことが挙げられます。また、(Ⅱ)の例としては、従業者10人の企業が「51人以上」の階層のP/Lを除外して、「50人以下」の各階層のP/Lを合算した上でデータを活用するといったことが挙げられます。必要に応じて方法をアレンジしてみると良いかもしれません。
4.おわりに
今回は、P/Lに関わるデータを活用するという観点から、業種別P/Lからさらに従業者規模別にブレイクダウンする方法について説明しました。業種別(ただし、大分類業種)の切り口に従業者規模別の切り口を組み合わせることができるということを知って頂くとともに、より自社に近いと想定される中小企業のデータとの比較が必要な場合などには是非ご活用頂ければと思います。従業者規模別のP/Lを使えば、自社と規模感の近い企業の平均値との比較もできますので、それを重視したい場合には、業種分類は大きくはなりますが、従業者規模別のP/Lとの比較を優先するのも一案です。
次回以降も引き続き、「中小企業実態基本調査」(中小企業庁)の活用法を考えていきたいと思いますので、そちらも併せてお読み頂き、実務上の参考にして頂ければ幸いです。
その後、新しい年度のデータも公表されていますが、本稿では個別の数値水準そのものではなく、データをどのように読み取り、比較分析に活用するかという視点や流れをお伝えすることを意図しています。その点をご理解いただければ幸いです。






















